无菌屏障系统不透气材料测试参考标准
无菌屏障系统是无菌器械安全性和有效性的基本保证。而微生物屏障是在考虑了灭菌过程、搬运、运输及贮存等条件后所测试的无菌屏障系统防止微生物进入的性能。通常来讲,医疗器械常用的无菌屏障系统分为两大类:透气材料和非透气材料。

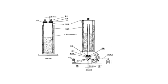
不透气材料包括但不限于塑料薄膜、塑料托盘(吸塑盒,注塑盒等)、铝塑膜等,针对不透气材料,需要通过规范的试验方法来证实材料的不透气性,就意味着材料满足微生物屏障性能要求。标准ISO 11607 附录C (GB/T 19633.1 给出了不透气材料阻气体通过的试验方法。)无菌屏障系统的不透气材料应按ISO 5636-5:2003中规定的葛尔莱(Gurley)法进行透气性试验。
佰富彩——责任编辑:英硕包装
版权所有http://zsmqbz.com转载请注明出处
相关推荐:
最新产品
同类文章排行
- 医疗器械产品规格型号多?医用吸塑盒兼容设计帮您节省成本
- 无菌屏障系统不透气材料测试参考标准
- 不同维度来了解医用吸塑盒与普通吸塑盒的差别
- 医用硬质吸塑盒的材质选择简述
- 医疗器械包装验证的内容和方法参考
- 最终医疗器械包装评审需注意些什么?
- 医用吸塑盒设计过程当中,应当注意些什么?
- 医疗器械常见的包装方式医用硬质包装加盖材
- 如何给医疗器械选择合适的包装
- 关于医疗包装定制PET能否与特卫强热封的问题
最新资讯文章
您的浏览历史







